Fri 24th Apr 2026
The Unseen Engine of Modern Sport: Patents, Performance and Innovation
Services: Patents, Trade marks
Sectors:
Each year, World Intellectual Property (IP) Day shines a light on the role that IP plays in shaping our world. In 2026, the focus turns to sport; an industry where innovation increasingly determines success but often goes unseen.
Elite sport today operates on a vast commercial scale, with global sports media rights being valued at more than USD 60 billion in 2024. Behind that visibility sits a quieter engine of relentless technological innovation.
Fans see speed, strength and skill. They don’t see the R&D, the product testing, or the patent filings that make modern sporting performance possible.

Why patents matter more than ever in sport
Sport has always evolved, but the nature of innovation has changed. Incremental improvements in materials, mechanics, electronics and software now deliver measurable gains of fractions of a second, reduced injury risk, improved recovery, and better decision making.
That innovation is expensive. Once new technology leaves the lab and appears on the pitch, the track, or the athlete, that secrecy largely disappears. This makes patents particularly valuable in sport. The patent owner has the exclusive right to prevent others from commercially exploiting the patented invention for a limited period (often 20 years).
Patent filings in the sports sector now run into the thousands each quarter. Even in periods of market fluctuation, major sports brands remain among the most active patent filers globally. In recent years, companies such as Nike have filed hundreds of sports related patent applications, covering everything from footwear construction to athlete monitoring systems.
This level of patent activity reflects a simple reality: in elite sport, competitive advantage is increasingly engineered, and patents are a key mechanism for protecting those investments.

Wearable technology: where hardware and software patents collide
Wearable technology has become one of the most visible, and patent intensive, areas of sports innovation.
The global wearables market is estimated to be worth over USD 90 billion in 2025 according to Grand View Research and is predicted to grow at double‑digit rates (CAGR), driven largely by health, fitness and performance monitoring. In sport, these devices extend far beyond simple fitness tracking. Products from companies such as WHOOP, Garmin, Polar and Catapult combine multiple layers of innovation including sensor hardware, embedded electronics, signal processing, proprietary algorithms, and cloud‑based analytics platforms.
From a patent perspective, this convergence matters. Sports wearables are rarely protected by a single patent. Instead, companies build portfolios covering different technical aspects of the same product: hardware configurations, data processing methods, training metrics, and system architectures. The result is dense patent landscapes where innovation happens at the intersection of engineering and software.

Equipment design: performance, protection and appearance
Digital technology is only part of the story. Physical sporting equipment remains a major focus of innovation, and of patent and design protection.
Footwear provides a clear illustration. The global sports footwear market is measured in the tens of billions of dollars, with running shoes alone accounting for a substantial share. Premium and technical footwear continues to grow as athletes and consumers look for meaningful performance benefits.
Major brands invest heavily to stay ahead. Adidas, for example, spent approximately €170 million on R&D in a single year, with footwear and performance technology forming a significant part of that investment. Companies such as Nike, ASICS, HOKA and New Balance similarly devote substantial resources to midsole geometries, energy return systems, materials and biomechanics.
From an IP perspective, these innovations are usually protected in two complementary ways: patents (covering functional performance improvements), and design rights (protecting distinctive visual appearance).
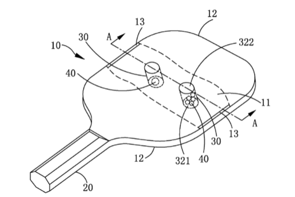
Together, they make it far harder for competitors to replicate both how a product works and how it looks, which is an important consideration in markets where marginal gains translate directly into commercial value. As an example, see patent diagrams from US20230047371A1 and US9375624B2 below showing a pickleball bat and a driver head of a golf club.
![]() |
![]() |
Patents alongside other forms of IP
Patents are not the only IP at play in sport. Trade marks protect brands that athletes and fans trust. An increasing number of professional athletes are actively protecting their personal brands, extending beyond names and logos to encompass aspects of their identity and appearance, with figures such as David Beckham, Cole Palmer, LeBron James and, more recently, Luke Littler leading the way. This is particularly significant in an era of rapid technological development. The rise of AI‑generated content, including deepfakes, has made unauthorised merchandising, impersonation, and other forms of misuse increasingly widespread. Against this backdrop, registered trade mark rights remain an important tool for brand owners and sports personalities alike to safeguard their reputation, goodwill, and commercial value.
Broadcasting technologies rely on copyright and technical protections. Data rights and contractual frameworks increasingly shape value creation.
But in many cases, patents provide the technical foundation for everything else. Without protected inventions, there is often little to license, scale or commercialise in the first place.
Looking ahead
World IP Day is a reminder that modern sport is built as much on innovation as on athleticism. As performance becomes increasingly data driven and engineered, patents will continue to shape who can compete and who can commercialise success.
The most important breakthroughs in sport may not be obvious from the stands. But they will almost certainly have been written down, claimed and protected long before fans ever see them in action.
At Page White Farrer, we advise clients on protecting and commercialising innovation in sport, including wearable technology, equipment design and performance‑driven systems. We support clients with patent drafting and prosecution, IP strategy and wider IP issues in the sports sector.
If you would like to discuss this further, please contact Jacob Willey or Daniel Wheatley.
This briefing is for general information purposes only and should not be used as a substitute for legal advice relating to your particular circumstances. We can discuss specific issues and facts on an individual basis. Please note that the law may have changed since the day this was first published in April 2026.





